HAZET Kugelkopf-Schraubendreher-Steckschlüssel 10mm 3/8 Zoll Innen-Sechskant 5 2527-5
Anwendung:
Ölwannen-Verschraubung (Schlüsselweite 5 mm) an VW, AUDI, SEAT, KODA
- Made In Germany
- Schlüsselweite: 5
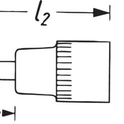
- Gesamtlänge: 227 mm
- Länge l1: 200 mm
- Antrieb: Vierkant 10 mm (3/8 Zoll)
- Abtrieb: Innen-Sechskant Profil
- Durchmesser d2 (am Antrieb): 19 mm
- Netto-Gewicht (kg): 0.12 kg
Artikel-Nr.:
HAZET-2527-5
Alternative Nr.:
HAZET 2527-5
Hersteller-Nr.:
2527-5
EAN:
4000896016303














Rezensionen
Es gibt noch keine Rezensionen.